华为新专利:融合摄像装置和雷达传感器
我们从互联网获悉,国家知识产权局专利显示,华为于日前公开了一项自动驾驶相关专利,其融合了摄像装置和雷达两种传感器。

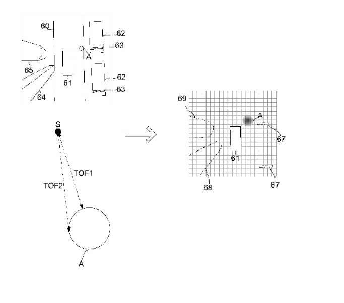
转利文件显示,自动驾驶辅助系统包括摄像装置、至少一个雷达以及处理器,系统被配置可实现方法的技术方案,自动驾驶车辆包括上述的自动驾驶辅助系统。华为申请的方法融合了摄像装置和雷达这两种传感器,并将基于两种传感器所获得障碍物分布信息进行融合,融合后的车辆可行驶区域以概率的形式进行表示。从而可以全面地得到车辆周围的障碍物信息,避免了因为摄像装置的盲区或者雷达的探测范围所导致的探测盲区。


方法包括使用神经网络对摄像装置获取的图像数据进行处理以得到障碍物的第一概率分布;根据雷达回波信号的回波时间和回波宽度获得所述障碍物的第二概率分布;根据障碍物的第一概率分布和障碍物的第二概率分布,获得以概率表示的车辆可行驶区域,所述概率表示车辆不可通行的几率。(编译/汽车之家 马艾骏)
 查看同类文章:带你懂行业电动车车闻更多精彩内容:中国zhi造儿童安全座椅>>汽车之家车闻-快速真实的报道 深入犀利的点评<<
查看同类文章:带你懂行业电动车车闻更多精彩内容:中国zhi造儿童安全座椅>>汽车之家车闻-快速真实的报道 深入犀利的点评<<                            郑重声明:文章仅代表原作者观点,不代表本站立场;如有侵权、违规,可直接反馈本站,我们将会作修改或删除处理。
                        
                            相关阅读
                        
                        
                    
                            猜你喜欢
                        
                        -     
                                    日产被发现犯有韩国在韩国使用柴油排放作弊装置2022-03-28
-     
                                    PEUGEOT 308 GTI长期测试评论 - anglesey公路旅行2022-03-27
-     
                                    问界M5竞争力分析:靠华为鸿蒙就够了?2022-03-07
-     
                                    雷诺开发自主驾驶技术2022-02-25
-     
                                    Autocar-Courland下一代奖获奖者透露2022-02-18
-     
                                    传大众收购华为自动驾驶 大众:不予置评2022-02-18
-     
                                    自主车辆如何塑造我们的未来2022-02-13
-     
                                    华为卖车:同售四大品牌,挑战30万辆?2022-02-09
-     
                                    修订了CitroënC5推出2022-01-18
-     
                                    电动汽车充电连接装置国家标准启动修订2022-01-09
-     
                                    MINIEYE与华为发布iPilot智能驾驶方案2021-12-23
-     
                                    一条龙服务 华为推智慧加油站解决方案2021-12-07
-     
                                    蔚来电池供应商获得小米、华为投资2021-11-27
-     
                                    英国f1图标vanwall回归1958年的赛车手2021-11-22
-     
                                    英国f1图标vanwall回归1958年的赛车手2021-11-22

 
                                         
                                         
                                         
                                         
                                         
                                         2022-03-28
2022-03-28 
  
  
                                         
                                         
                                         
  评测
评测